1
当前位置:KE3100压力仪表 > 仪表安装

KE3100结构尺寸:

        

KE3200结构尺寸:

测量范围( MPa )

0.006,0.04,0.25

1

2.5

10

25

40

M ( mm )

54

55.2

55.6

57.2

57.6

59

 


连接接头图

(a) 锥管阴螺纹(选型代码为“N”)
    1- 变送器压力腔法兰
    2- “O”形圈
    3- 锥管阴螺纹连接接头
    4- 螺栓
(b) 球锥连接(选型代码为“J”)
    1- 变送器压力腔法兰
    2- “O”形圈
    3- 球锥连接接头M20×1.5阳螺纹
    4- 螺栓; 5-螺母 6-球形接头
   (φ13处可与引压管焊接)

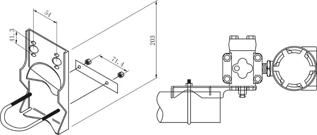
KE3200安装方式:


管装弯支驾


板装弯支架


管装平支架

copyright@2006 武汉科易科技有限公司 版权所有
地址:湖北省武汉市青山区29街75-3号  邮编:430080
电话:(027)86301960、86300102、63657970  传真:(027)86300102  邮箱:whkyi@163.com